Cuộc đời lạ thường của người phụ nữ 'đẹp nhất thế giới'
Thành tựu lớn nhất của Lamarr là thiết bị có tên "hệ thống thông tin bí mật".
Từng được mệnh danh "người phụ nữ đẹp nhất" và đóng hơn 30 bộ phim, Hedy Lamarr lại tìm thấy bản thân trong các sáng chế. Bà từng góp phần tạo ra công nghệ nhảy tần, tiền thân của wifi, GPS và bluetooth mà ngày nay hàng tỷ người sử dụng.
Nữ diễn viên Hedy Lamarr còn được mệnh danh là người phụ nữ đẹp nhất mọi bộ phim. Ảnh: The Guardian. |
Hedy Lamarr tên thật là Hedwig Eva Maria Kiesler, sinh ngày 9/11/1914 ở Vienna (Áo). Năm 17 tuổi, cô bé Hedwig có vai diễn đầu tiên. Năm 1932, Lamarr tham gia bộ phim Ecstasy và lập tức tạo cơn sốt bởi nhiều cảnh nóng.
Ecstasy bị cấm chiếu tại Mỹ nhưng đủ để giúp Lamarr lọt vào mắt xanh các nhà sản xuất phim ở Hollywood. Cô gái trẻ ký hợp đồng với hãng MGM và chuyển tới Mỹ, đổi tên thành Hedy Lamarr.
Lamarr say mê khoa học. Những lúc không phải đóng phim, cô thức cả đêm để mày mò, sáng chế. "Tôi không cố tìm ý tưởng. Chúng cứ tự nhiên đến", Lamarr chia sẻ. Nữ diễn viên từng thử cải thiện hệ thống đèn giao thông và chế ra viên sủi biến nước thành nước có ga.
Một trong ít người biết đến khả năng sáng chế của Lamarr là ông trùm hàng không Howard Hughes. Dựa trên hình ảnh những loài chim, cá nhanh nhất có thể tìm được, Lamarr hỗ trợ Hughes cải tiến thiết kế máy bay để tăng tốc độ.
| |
Lamarr có niềm đam mê với khoa học. Ảnh: Forbes. |
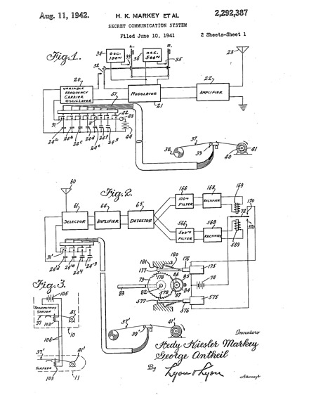
Thành tựu lớn nhất của Lamarr là thiết bị có tên "hệ thống thông tin bí mật".
Trong chiến tranh thế giới thứ hai, Lamarr biết rằng ngư lôi điều khiển bằng sóng vô tuyến dù là công nghệ tân tiến nhưng rất dễ bị gây nhiễu. Cô nảy ra ý tưởng về hệ thống nhảy tần có khả năng thay đổi tín hiệu sóng vô tuyến truyền đến ngư lôi, nhờ đó tránh bị gây nhiễu và theo dõi.
Mùa hè năm 1940, Lamarr liên hệ với bạn mình, nhà soạn nhạc George Antheil. Cả hai bắt đầu phát triển "hệ thống thông tin bí mật". Sau này, Antheil kể lại: "Hedy không thoải mái khi ở lại Hollywood, kiếm nhiều tiền trong khi chiến tranh đang nổ ra. Cô ấy nói mình biết nhiều về các vũ khí bí mật và nghiêm túc nghĩ về việc bỏ MGM tới Washington, cống hiến cho Hội đồng Sáng chế Quốc gia mới thành lập".
Dựa trên cơ chế đàn pianola (loại dương cầm tự chơi), Lamarr và Antheil chế tạo thành công hệ thống nhảy tần. Họ được cấp bằng sáng chế năm 1942.
![]() |
Bản thiết kế hệ thống liên lạc bí mật của Lamarr và Antheil. Ảnh: USPTO. |
Các ý tưởng phát minh đến với Lamarr, còn danh tiếng và phần thưởng xứng đáng thì không. Hải quân Mỹ tiếp nhận sáng chế của Lamarr và Antheil nhưng không sử dụng cho tới năm 1962. Quân đội tin rằng nhan sắc của nữ diễn viên hữu ích hơn nên đề nghị Lamarr giúp họ bán trái phiếu chiến tranh bằng cách bán nụ hôn. Cụ thể, cô sẽ hôn bất cứ ai mua số trái phiếu trị giá 25.000 USD.
Hội đồng Nhà Sáng chế Quốc gia Mỹ từng nhận xét Lamarr "rất có tiềm năng cho chương trình quốc phòng quốc gia" song sự nghiệp khoa học của nữ diễn viên không được biết đến rộng rãi cho tới cuối thập niên 1990. Đối với báo chí, cuộc sống của Lamarr chỉ xoay quanh nhan sắc, những bộ phim và chuyện tình cảm phức tạp với 6 lần kết hôn, 6 lần ly dị.
Những vai diễn Lamarr đảm nhận hay có điểm chung là xinh đẹp, dễ hấp dẫn đàn ông nhưng ít nói. Bà hiểu rõ lý do sự nghiệp khoa học của mình bị bỏ quên: Nó không phù hợp với chiến lược kinh doanh của hãng phim.
Trong bộ phim tài liệu Bombshell, giáo sư Jan-Christopher Horak, giám đốc Phòng Lưu trữ Phim và Truyền hình Đại học California, Los Angeles nhận định mẫu phụ nữ vừa xinh đẹp vừa thông minh không được Louis B. Mayer, nhà sáng lập MGM, ưa thích.
"Một phụ nữ quyền lực, xinh đẹp và thông minh khiến đàn ông sợ hãi", tiến sĩ Simon Nyeck, giám đốc thương hiệu ở Trường Kinh doanh ESSEC Paris cho biết. Theo tiến sĩ Nyeck, trước kia, các nữ diễn viên chỉ được coi trọng về nhan sắc chứ không phải trí tuệ, chỉ như "những món đồ chơi" và "không có tiếng nói". Do đó, không ngạc nhiên khi cả sự nghiệp khoa học lẫn nỗ lực sản xuất, đạo diễn phim của Lamarr đều không được đền đáp xứng đáng.
Vì bằng sáng chế đã hết hạn trước khi được đem ra sử dụng rộng rãi, Lamarr không bao giờ được hưởng lợi từ ý tưởng của mình. Những năm cuối đời, bà sống xa lánh xã hội nhưng vẫn tiếp tục sáng chế. Ngày 19/1/2000, Lamarr qua đời ở Casselberry, Florida (Mỹ), thọ 85 tuổi.
Theo đúng nguyện vọng của mẹ, con trai Lamarr là Anthony Loder đã mang tro cốt bà về Áo, rải trong những cánh rừng ở dãy núi Wienerwald. "Mẹ muốn được nhớ đến như một người đóng góp cho sự thịnh vượng của nhân loại", Loder nói.
Theo Vnexpress
Tại sao đồng hồ có 60 phút mà không phải 100: Lý do bắt nguồn từ một quyết định bí ẩn 5.000 năm trước
Chuyện đó đây - 6 giờ trướcTừng có lúc người ta đã quy định mỗi ngày sẽ có 10 giờ, mỗi giờ 100 phút, mỗi phút 100 giây, nhưng cuối cùng phải hủy bỏ vì không thể sử dụng được.
Cái kết bi thảm của người đàn ông nghèo bất ngờ trúng số độc đắc trị giá hơn 11 tỷ đồng
Tiêu điểm - 17 giờ trướcGĐXH - Người đàn ông bất ngờ đổi đời sau khi trúng số độc đắc nhưng những lựa chọn sai lầm, khiến gia đình tan vỡ, tài sản tiêu tán và kết cục bi kịch khiến nhiều người không khỏi rùng mình.
Phát hiện báu vật la liệt dưới đáy biển, Mỹ và Trung Quốc chạy đua giành phần hơn, chìa khóa cho năng lượng tương lai
Chuyện đó đây - 19 giờ trướcMột cuộc cạnh tranh mới đang hình thành dưới đáy đại dương, khi các cường quốc đẩy mạnh tìm kiếm nguồn khoáng sản phục vụ chuyển đổi năng lượng.
Vũ khí Trung Quốc 3.000 năm trước làm từ vật liệu ngoài hành tinh
Tiêu điểm - 1 ngày trướcNhững thợ rèn ở thành cổ Tam Tinh Đôi - Trung Quốc có thể đã tìm thấy một "kẻ xâm nhập" ngoài hành tinh.
Đi câu cá, người đàn ông bất ngờ đụng độ loài vật hiếm hơn gấu trúc: Cả thế giới chỉ còn 1.000 con
Chuyện đó đây - 1 ngày trướcMột buổi câu cá tưởng như bình thường bên hồ nước bỗng trở thành cuộc chạm mặt hiếm có với một trong những loài vật ít được ghi nhận nhất hành tinh.
Trăn "khủng" nặng 45kg xơi tái vật nuôi trong đồn điền, cảnh tượng khiến lão nông rụng rời
Tiêu điểm - 1 ngày trướcMột con trăn dài khoảng 5,5m đã bị phát hiện đang nuốt chửng một con bê tại đồn điền cọ dầu gần khu vực Paya Keladi, huyện Baling, bang Kedah (Malaysia) vào ngày 29/3.
Hòn đảo của những người "không biết buồn"
Chuyện đó đây - 2 ngày trướcCác nhà nhân chủng học phương Tây gọi đây là "kỳ quan của hạnh phúc".
Sinh vật lạ ở Ai Cập vừa làm thay đổi lịch sử loài người
Chuyện đó đây - 2 ngày trướcNhững mẩu xương và răng "không thuộc về bất kỳ loài nào đã biết" đã làm đảo lộn niềm tin bấy lâu về "đất tổ" của loài người.
Loài vật quý hiếm bậc nhất hành tinh ngỡ đã tuyệt chủng 6.000 năm bất ngờ "tái xuất"
Tiêu điểm - 3 ngày trướcCác nhà khoa học không khỏi kinh ngạc khi phát hiện hai loài thú có túi từng được cho là đã biến mất khoảng 6.000 năm trước, nhưng thực tế vẫn đang sinh sống ở một nơi rất bí ẩn.
“Trăng hồng” và “trăng xanh” tháng 4 - 5 có gì đặc biệt?
Chuyện đó đây - 3 ngày trướctrăng tròn ngày 2-4, 2-5 và 31-5 sẽ có những tên gọi rất đặc biệt: Trăng hồng, trăng hoa và trăng xanh.
Người phụ nữ bắt gặp con chim khổng lồ cao gần 1 mét băng qua đường
Tiêu điểmNgười phụ nữ đang lái xe thì bất ngờ phát hiện con chim cao gần 1 mét thản nhiên đi lại trên đường, dường như không sợ người.
